
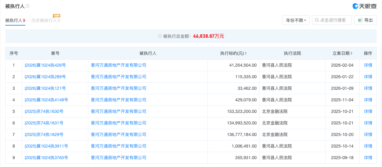
证券之星消息,根据天眼查-司法案件数据整理,2月3日万通发展(600246)参股的香河万通房地产开发有限公司新增1条被执行人信息,执行标的4135.45万元。被执行人信息如下:
案号:(2026)冀1024执426号
被执行人:香河万通房地产开发有限公司
身份证号/组织机构代码:91131024693****0028
执行法院:香河县人民法院
执行标的(元):41354504.0
香河万通房地产开发有限公司成立于2009年7月30日,法定代表人为唐功铭,注册资本15000万人民币(1.5亿元)。天眼查APP股权穿透显示,该公司由万通发展参股,持股占比30%。
此外,天眼查显示,截至目前该公司被执行总金额为46838.87万元(约4.68亿元)。

图片来源:天眼查
来源:天眼查APP、证券之星
联系方式:hbpd@eastdaymail.com.cn